3.ViT

论文链接:https://arxiv.org/abs/2010.11929

源码链接:https://github.com/rwightman/py

1.标题 + 简介

An image is worth 16*16 words

每一个方格都是 16 * 16 大小,图片有很多 16 * 16 方格 patches —> an image is worth 16 * 16 words

ViT:过去一年,CV 最有影响力的工作

  • 推翻了 2012 Alexnet 提出的 CNN 在 CV 的统治地位
  • 有足够多的预训练数据,NLP 的 Transformer 搬运到 CV,效果很好
  • 打破 CV 和 NLP 的壁垒,给 CV、多模态 挖坑

ViT效果有多好,CV 任务刷榜,paperwithcode网站

  1. 霸榜 ImageNet (基于 ViT)
  2. COCO ,目标检测(Swin Transformer ICCV 21 best paper:多尺度的 ViT )的模型

下图中的的四种情况 ViT 都能处理

遮挡、数据分布的偏移(纹理的去除)、鸟头部+对抗的patch、图片打散重新排列组合

2.摘要

Transformer 在 NLP 是基本操作,但 transformer 在 CV 的应用有限。

CV 里的 attention 是怎么用的呢?attention + CNN, or attention 替换 CNN components 但依然保持 CNN 整体结构。

本文怎么看 CV 里的 attention? attention 不用和 CNN 绑在一起,和 transformer 结合,在 CV 领域 大杀四方。

3.引言

3.1 self attention

self-attention 架构, esp Transformers,是 NLP 必选模型。主流方式是 BERT 提出的,大规模数据集预训练,在特定领域的小数据集做微调。 Transformer 的 计算高效和可扩展性,1000亿参数都还没有性能饱和的现象。

3.2 Transformer 应用在 CV 的难点

计算像素的 self-attention,序列长,维度爆炸

Trnasformer 的计算复杂度是 序列长度 n 的 平方 $O(n^2)$

224 分辨率的图片,有 50176 个像素点,(2d 图片 flatten)序列长度是 BERT 的近 100 倍。

CV 如何用 attention 呢?

(1)CNN 结构 + self-attention or attention 替代卷积

降低序列长度的方式:CVPR Wang et al. 2018, Local Network, 网络中的特征图 输入 Transformer

ResNet 50 最后一个 stage, res4 的 feature map 14 * 14, 196

(2)stand-alone attention 孤立自注意力

用 local window 局部小窗口 控制 transformer 的计算复杂度,有点像卷积,卷积也有 locality,局部窗口卷积。

(3)axial attention 轴注意力

2 个 1d 顺序操作,降低计算复杂度,图片的序列长度 n = H * W。

2d 矩阵 拆分为 2个1d 向量,先在 H 高度 dimension 做一次 self-attention,再 W 宽度 dimension 做一次 self-attention

replacing the convolutions entirely 好不好呢?

理论高效,但硬件无法加速 —\> 此类模型都还没有太大。

本段(第二段)总结:在大规模的图像识别上,ResNet 还是效果最好的。

3.3 ViT

(1)ViT做法

现状: attention 已经在 CV 领域有应用,甚至也有 attention 替代卷积的操作

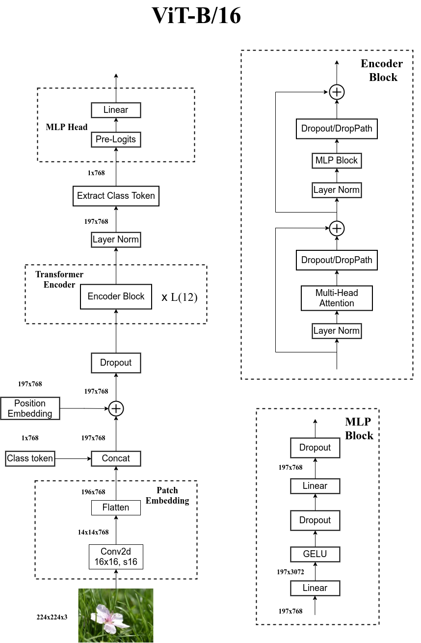
标准 Transformer 直接应用于图片,做最少的修改,不做任何针对视觉任务的特定的改变。

把图片划分成很多 patches,每个 patch 元素 是 16 * 16,序列长度 14 * 14 = 196个元素

每一个 patch 经过一个 FC layer(fully connected layer)得到一个 linear embedding,patches 的 linear embeddings 是 Transformer 的输入。

一个 224 * 224 图片 变成一个 196 个的 16 * 16 图片块(words in NLP)。

(2)为什么 transformer 的训练是 supervised fashion?

NLP 的 Transformer 无监督训练 by language model LM or mask language model MLM;

CV 任务的 benchmark 使用有监督训练。

ViT 把 CV 任务当成 NLP 任务,模型使用的是 BERT, Transformer encoder 简洁框架

(3)Transformer in CV,之前有人做吗?

ICLR 2020 从输入图片里抽取 2 * 2 patches。 2 * 2 size enough:CIFAR-10 32 * 32 图片,16 * 16 会过大。 抽好 patch 之后,在 patches 上 做 self-attention。 —> 技术上的 Vision Transformer

ViT 和 ICLR 2 * 2 patches 的区别?

  • ViT证明了 大规模数据集预训练 (NLP 常用)之后的 Transformer,不需要做 针对视觉任务的 修改,比最好的 CNNs 效果差不多 or 甚至更好。
  • 2 * 2 patches applicable only to small-resolution images, ViT handles medium-resolution images as well.
  • ViT 告诉大家,Transformer 在 vision 领域能拓展到有多好。large 数据集 + large 模型,transformer 能否取代 CNN 地位?

(4)ViT 任何情况比CNN都强吗?

mid-sized datasets ImageNet without strong regularization,ViT 比 ResNet of comparable size 弱几个点。

Transformer 比 CNN 少 inductive biases 归纳偏置

CNN 有 locality 和 translation equivariance 归纳偏置,—> CNN 有 很多先验信息 —> 需要较少的数据去学好一个模型。

Transformer 没有这些先验信息,只能 从图片数据里,自己学习对 视觉世界 的感知。

inductive biases 归纳偏置:先验知识 or 提前的假设

CNN 的 inductive biases 是 locality(相似特征) 和 translation equaivariance(平移不变性 )。

  • locality: CNN用滑动窗口在图片上做卷积。假设是图片相邻的区域有相似的特征。i.e., 桌椅在一起的概率大,距离近的物品 相关性越强。
  • translation equaivariance:$f (g(x)) = g( f(x) )$,f 和 g 函数的顺序不影响结果。
  • f:卷积 g:平移; 无论先做平移 g 还是先做卷积 f , 最后结果一样。

怎么验证 Transformer 无 inductive bias 的假设?

在 1400万(ImageNet-21K) - 3000 万(JFT-300)得到图片数据集上预训练 trumps inductive bias, ViT +足够训练数据,CV SOTA。

VTAB 融合了 19 个数据集,检测模型的稳健性,ViT的 robustness 也很好。

3.4引言总结

第一段:Transformer 在 NLP 扩展的很好,没有因为大模型和大数据集而饱和,performance 一直有提升,Transformer 在 CV 里能不能也有大幅度的提升呢?

第二段:前人工作。这么好的 idea 有哪些人做过呢?要讲清楚自己的工作和 related works 的区别。之前的工作是 CNN + attention 或者 attention 替代 convolutions,没有工作将 transformer 用到 CV 领域,没有得到很好的扩展效果。

第三段:Vision Transformer 是 standard Transformer with the fewest possible modifications。图片变成 16 * 16 的像素块 patches,经过 一个 fc layer 得到的 linear embeddings 输入 transformer。ViT 融合了 CV 和 NLP 领域

第四+五段:show 结果,足够多的数据集,ViT 能 SOTA

4.结论

直接 用 NLP 的 Transformer 来处理图片,和其它 self-attention in CV 的工作不同:除了 将图片转成 16 * 16 patches + 位置编码 之外,没有额外引入 图像特有的 inductive bias

没有图片的 inductive bias 的好处是什么?

不需要对 vision 领域的了解,不需要 domain knowledge,直接把 图片理解成 a sequence of patches, i.e., 一个句子里的很多单词。

新问题 —— CV 除了 image classfication 其他的任务,行不行呢?分割、检测

  • DETR (Carion et al. 2020) 目标检测的力作,改变了目标检测 出框的方式。ViT 做其它 CV 任务应该效果也很好。
  • ViT-FRCNN 检测 detection
  • SETR 分割 segmentation
  • (3个月后)Swin Transformer 融合 Transformer 和多尺度设计

Transformer 是 CV 领域的一个通用的骨干网络 backbone

另外一个未来工作方向,自监督的预训练方式。NLP 大的 transformer 模型使用 自监督 预训练,ViT有 initial experiments 证明 自监督预训练也可以,但和有监督的训练有差距 still large gap。

ViT 挖坑

  • 视觉领域 CV
  • 多模态,一个 transformer 处理 CV 和 NLP问题

5.相关工作

5.1 Transformer

Transformer 在 NLP 领域的应用:BERT, GPT

  • Transformer 先在大规模语料库上做预训练,再根据具体的任务数据集进行微调。
  • BERT: denosing mask挖词、完形填空,把masked的词预测出来
  • GPT:language modelling, 预测下一个词 next word prediction
  • 自监督的训练方式:完形填空 or 预测下一个词,人为设定。语料句子是完整的,去掉某些词(完形填空) or 最后词(预测下一个词)

5.2 self-attention 在视觉领域的应用

用图片的所有像素做Transformer会产生复杂度爆炸的问题,Transformer的复杂度是输入维度的平方($O(n^2 )$)

self-attention to each image with approximations:

  • 不用整张图,只用 local neighborhoods,降低序列长度

sparse transformer

  • 全局注意力的近似
  • 只对 稀疏的点 做注意力

scale attention by applying attention in blocks of varying size

  • 把自注意力用到不同大小的 blocks
  • in the extreme case only along individual axes 极端情况,只关心轴, axial self-attention,横轴 + 纵轴

小结:以上 self-attention + CV 效果不错,但工程实现加速很难。可在 cpu gpu跑,但大规模训练不行。

5.3 和 ViT 最相似的工作:

(1)ICLR 2020 2 * 2 patches for CIFAR-10 32 * 32 图片

ViT 胜在哪里: 更大的 patches 16 *16 + 更大的训练数据集

CV 中 检测、分类、视频处理、多模态 self-attention with CNNs

(2)image GPT

GPT 是 NLP 的生成模型,image GPT 无监督预训练,生成模型。

image GPT 也用了 transformer 图片(降低分辨率和 color space)。用训练好的 image GPT or 直接把 image GPT 当成特征提取器, ImageNet 准确率 72%;ViT ImageNet 准确率 88.5%

(3)最近爆火的 MAE

在 BEiT 或 MAE 论文之前,生成式网络 在 CV 比 判别式网络 弱很多。

MAE 生成式模型 在 ImageNet-1k 做训练,比判别式模型好。分类,目标检测 (transfer learning)都有不错的效果。

6.ViT模型

ViT 尽可能使用 original Transformer,享受 Transformer 的高效实现。

6.1 Vision Transformer

(1)Model

ViT 对 图片的操作: 划分 patches,flatten patches 的线性投影 + patches 的位置信息,得到输入 transformer 的 tokens

如何分类:借鉴 BERT,插入一个特殊的字符 * [CLS],用于分类。* [CLS]也有 position embedding, 0(永远是0)。* [CLS] 输入 一个通用的 MLP Head,得到 Class,cross-entropy 损失函数训练模型。

图像示例(维度变化),以224*224输入图像为例:

  • **图片 **$X$: 224 * 224 * 3(RGB, 3 channels)
  • $ patches $**数 **$N$: 224 ^ 2 / 16 ^ 2 = 14 ^ 2 = 196
  • 每一个 patch 的维度16 * 16 * 3 (RGB, 3 channels) = 768
  • Linear Projection 全连接层 $E$输入:768( 不变,patch 计算而来 ) * D(embedding_dim, 768 或 更大)
  • **Linear Projection 全连接层 **$E$输出X * E = patches (196 patches 个数 * 768 每个 patch 的维度) * E ( 768 * D ) = 196 * D (768)
  • position embedding向量维度: 1 * 768,通过sum加到输入信息中;
  • 进入Transformer Encoder维度:196 * 768(图片对应的 tokens) 拼接 concatenate [CLS] token (1 * 768) = 197 * 768
  • ViT base MLA: 12 heads
  • MLP:放大 4 倍,再缩小到原维度大小
  • Transfomer encoder 输入输出维度一致,可以直接叠加 L

(2)ViT和CNN

class token:证明 标准的 transformer 做视觉,没问题!

ViT 除了标准的 transformer,关键部分是 怎么对图片进行预处理 和 怎么对图片最后的输出进行后处理。

控制和 NLP 的差异:使用 BERT 的 CLS,CLS 在 NLP 理解为 一个全局的对句子理解的特征;ViT 的 CLS 理解为 一个图像的整体特征。

  • CLS token + MLP (tanh acitvation) == 分类
  • CV 通常的 全局特征:(i.e., Res50) feature map (14 * 14) —> GAP globally average-pooling 全局平均池化 —> a flatten vector 全局的图片特征向量 —> MLP 分类
  • CLS 可用 GAP global average pooling 替换
  • CV 的 CLS GAP 和 NLP 的 CLS 效果差异不大**,为了和原始Transformer保持统一。** 但CLS-Token 和 GAP 的 适用参数 不一样。

位置编码: 1d、2d、 relative编码都相差不大,为了和原始Transformer保持一致,使用1D编码。

  • 猜测相差不大原因:ViT 直接作用于 14 * 14 patches,而不是 224 * 224 像素。较少数量的 patches 之间的相对位置信息,容易学到。

(3)Inductive bias

CNN 的 inductive bias: locality 局部性、 translation equivalence 平移等变性。在 CNN 模型每一层都有所体现,模型的先验知识从头到尾,贯穿整个模型。

ViT 比 CNN 的 inductive bias 少, only MLP

ViT 的 inductive bias in images:图片 切成 patches;+ position embedding(随机初始化,没有携带 2d 位置信息)

ViT 的 patches 块的 2d 位置信息 + spatial relations 图像块之间的场景信息,都需要重新学。所以 ViT 没有很多 inductive bias,在中小型数据集训练 ViT 效果不如 CNN。

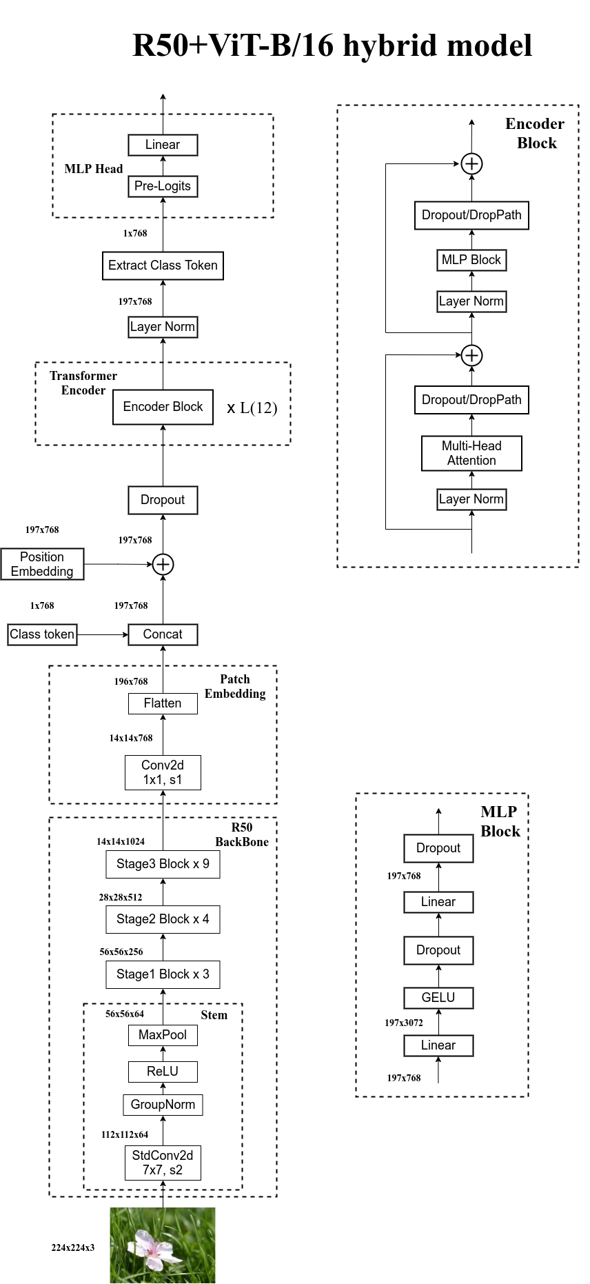
(4)Hybrid architecture

Transformer:全局建模能力强

CNN: data-efficient 不用那么多训练数据

前 CNN + 后 Transformer —> Hybrid archtecture

不同的图片预处理方式:不划分 patches,采用 CNN (Res50 的 feature map 14 * 14 = 196),过全连接层 E Linear projections 得到图片的 embedding

ViT 的图片预处理方式**:** 把一张图划分成 patches,直接过全连接层 FC

6.2 Fine-tuning and higher resolution

(1)预训练好的 ViT 可以在更大尺寸的图片上微调吗?

if patch size 不变 16 * 16,更大尺寸的图片 —> 序列长度的增加;Transformer 理论上,可以处理任意长度。* But, *提前训练好的 position embedding 可能失效

** (2) patches 数增多,如何使用已预训练好的位置编码吗?** ​

不可以。但可以使用2d 插值,增加位置编码的长度,但效果会掉点,是临时解决方案,ViT 微调时的一个局限。

  • 2d 插值,torch 的 interpolate 函数实现;但也不是任意长度增加都能保持效果。

ViT 用了图片 2d 结构 的 inductive bias 地方:resolution adjustment 尺寸改变 和 patch extraction 抽 patches

7.实验

对比 ResNet, ViT, Hybrid ViT (CNN 特征图,不是图片直接 patch 化) 的 representation learning capabilities 表征学习能力。

为了了解每个模型预训练好 到底需要多少数据,在不同大小的数据集上预训练,然后在很多 benchmark tasks 做测试。

考虑模型预训练的计算成本时,ViT performs very favourably 表现很好, SOTA + fewer resource 训练时间更少;

ViT 的自监督训练,可行,效果也还不错,有潜力;一年之后,MAE 用自监督训练 ViT 效果很好。

数据集:

  • ImageNet-1K: 1000 classes, 1.3M images
  • ImageNet-21K: 21000 classes, 14M images
  • JFG-300: 303M images Google 不开源
  • 下游任务:分类 CFIAR etc.

7.1 ViT model variants

模型变体 = (Base, Large, Hugh) + (patch size 表示)

ViT-L/16 使用 Large 参数 和 patch 16 * 16 输入

7.2 结果

和 CNN 的工作 BiT-L, Noisy Student 做对比

  • BiT-L: CNN比较大的模型,ViT论文作者团队自己的工作
  • Noisy Student: ImageNet 当时表现最好的方法。用 伪标签 pseudo-label 去 self-training

ViT-H/14 训练比 ViT-H/16 贵,效果和 BiT-L 差不多,优势不明显。怎么突出 ViT 的好呢?

ViT 训练更便宜。TPUv3 天数:ViT-H/14 2.5K, BiT-L 9.9K, Noisy Student 12.3K

ViT 优点:效果好 + 训练快

7.3 结果分析

(1)Vision Transformer 到底需要多少数据才能训练好?

图中灰色区域 ResNet 的效果,圆圈 ViT 的效果

如果想用 ViT,至少需要 ImageNet-21K 14M 大小的数据集

  • 小于整个数据量,CNN 更合适,更好的利用 inductive bias,ViT 没有特别多 inductive bias 需要更多数据训练。

数据集规模比 ImageNet-21K 更大时,Vision Transformer 效果更好,因为可扩展性 scaling 更好。

(2)Linear few-shot evaluation

linear evalution:把 ViT 预训练好的模型 直接作为 特征提取器,不 fine-tune,+ 一个 logistic regression 得到分类结果。

Few-shot:5-shot,在 ImageNet 做 linear evaluation 时,每类图片随机选取 5 个 samples,evaluation 很快,做 消融实验。

linear few-shot evaluation 采用 JFT 数据集 10M, 30M, 100M, 300M。来自同一个数据集,数据没有 distribution gap,模型的效果更能体现 Vision Transformer 本身特质。

ViT 图中 效果 和 上图差不多。

如何用 ViT 做小样本学习,未来研究方向之一。

(3)用 ViT 比 CNNs 便宜

大家的印象:Transformer 又大又贵,很难训练

  • average-5:ImageNet-real, Pets, Flower, CIFAR10, CIFAR100 平均
  • ImageNet 单独的对比

同等计算复杂度:ViT 比 ResNet 效果好,印证了 ViT 训练更便宜

Q:Hybrid 模型,CNN 抽取出来的特征,能不能帮助 Transformer 更好的学习呢?

  • 小模型,Hybrid 模型吸收 CNN 和 Transformer 的优点,效果好。不需要很多的数据预训练,达到 Transformer 的效果
  • 大模型,Hybrid 模型 和 Transformer 差不多,甚至不如 Transformer 模型。

7.4 Inspecting Vision Transformer

可视化分析 ViT 内部表征 internal representations: Patch embedding, position embedding

(1)** Linear projection E **

ViT 第一层 Linear projection E 学到了什么?

embed RGB value 前 28 个主成分

Vision Transformer 和 CNN 学到的很像,类似 gabor filter 有颜色、纹理, 可以做 plausible basis functions,可以描述每个图像块的底层信息 a low-dimensional representation of the fine structure within each patch.

(2)Position embedding

Position embedding 能学到一些表示位置距离的信息

  • patch 自己本身 相似度高 黄色 1
  • 学到了距离的概念
  • (4, 4) 黄色中心点,越边缘,相似度越低,颜色越蓝
  • 学到了 行 和 列 的距离规则
  • 同行同列,颜色条 的表示

虽然是 1d 的 position embedding,但已经学到了 2d 的图像位置概念;所以换成 2d position 提升不多。

(3)Self-attention 有没有起作用?

用 Transformer 的原因:自注意力 能模拟长距离的关系。

  • NLP 一个很长的句子里,开头的一个词和结尾的一个词 可能互相有关联。
  • CV 里 很远的两个像素点之间 也能做自注意力。

ViT 的 self-attention 是不是 很远的像素点也能有交互?

ViT-L/16 有 24 层(横坐标值),五颜六色的点:transformer 每层 multi-head 的heads,ViT-L 16 heads, 每一列有 16 个点

纵轴是 mean attention distance

$d{ab} = l{ab} A_{ab} = ab 两点 pixel 之间的距离差 ab 两点之间的attention ~weights$

d_ab 的大小,反映模型能不能注意到很远的 2 个 pixels

  • self-attention 刚开始能注意到 10 - 110 pixels
  • self-attention 刚开始就注意到全局的信息;CNN 刚开始第一层的感受野 receptive filed 很小,只能看到附近的 pixel

网络加深,模型学到的特征越来越 high level,越来越有语义信息,像素的自注意力距离 越来越远,不是靠邻近的像素点做判断。

证明 自注意力 有学到 很远距离的 pixel 信息, ViT 最后一层 output 的 token 的 self-attention 折射(逆向映射)回 原来的输入图片。ViT 真的学到了一些概念:狗、飞机

Globally 全局来说,输出的 token 是融合全局的特征信息,ViT 模型可以关注到 和 classfication 分类相关的图像区域。

7.5 self-supervision

如何用 自监督 的方式 训练一个 vision transformer?

因为 NLP 的 transformer 都是用 large scale self-supervised pre-training 大规模、自监督 的方式预训练的。

NLP 的 自监督:BERT 完形填空 Mask language model,GPT 生成,预测下一个词 by language model

ViT 借鉴 BERT,创建一个专属于 vision 的目标函数,masked patch prediction。一张图片的某些 patches 随机抹掉,ViT 重建缺失的patches

Note:从 模型、目标函数上,CV 和 NLP 的大一统。

但是,ViT-B/16 with masked patch prediction 在 ImageNet ~80% 准确率。~80% 比 从头训练 ViT 好 2%,比 supervised pre-training 低 4%。

8.评论

8.1 写作

写作:简洁明了、有轻有重(重要结果放正文),图表清晰。

内容:Vision Transformer 挖了一个大坑:各个角度的分析,提升 or 推广

task 任务角度:ViT 只做了分类,检测、分割、其它领域的任务 future work

ViT 结构的角度:

  • 改刚开始的 tokenization
  • 改 transformer block, i.e., self-attention 换成 MLP works
  • MetaFormer 认为 transformer work 的原因是 transformer 的架构,不是 transformer 某些特殊的算子
  • MetaFormer,self-attention 改成 (不能学习的)pooling 池化操作;甚至改成 Identity,不用注意力
  • 改 目标函数:有监督、or 不同的自监督训练方式

8.2 ViT

ViT 的大坑:

  • 打通了 CV 和 LP 之间的鸿沟
  • 挖了一个更大的多模态的坑
  • 视频、音频、基于 touch 的信号
  • 各种 modality 的信号都可以拿来用

CNN, self-attention, MLP 鹿死谁手? 犹未可知,期待下一个改进的 vision transformer

  • 一个简洁、高效、通用的视觉骨干网络 CV backbone,甚至完全不用任何标注信息